新增功能

新增功能

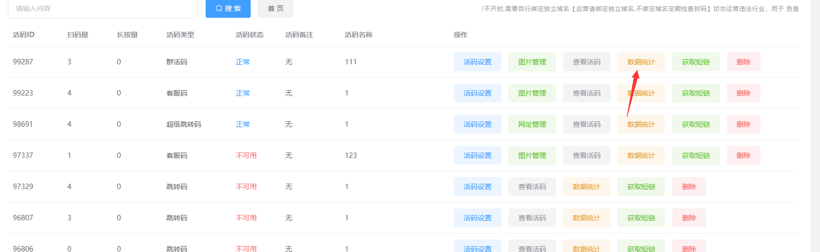
1.数据统计新增

2.新增内容如下

新增功能

3.新增功能,每个码可以设置阈值,达到次数不展示,但是之前扫过的用户就一直显示这个内容

4.他这里的跳转次数不统计也需要修复

新增功能

给TA打赏
共{{data.count}}人
人已打赏
技巧分享

淘宝卖家pc端隐藏代码怎么写

2023-4-14 19:33:20

技巧分享

骗子QQ836770395,网站www_daohantx_com该网站管理是骗子

2023-8-24 20:18:49

0 条回复 A文章作者 M管理员
    暂无讨论,说说你的看法吧
搜索